При выборе сменных режущих пластин для выполнения различных операций необходимо ориентироваться в принятой для их маркировки системы обозначений.
Сменные режущие пластины маркируются по ГОСТ 19042-80 (ИСО 1832-85).

Основные группы металлорежущего инструмента
Прежде чем переходить к обозначениям режущих пластин, стоит ознакомиться с их видами, в зависимости от выполняемой операции.
| Тип пластины | Описание | Изображение | |
| Вид А | Вид Б | ||
| Для точения | Корпусные токарные резцы Используются для обработки тел вращения. |
Пластины для точения (вид А)
|
Пластины для точения (вид Б)
|
| Для фрезерования | Корпусные фрезы с СМП. Фрезерная обработка в основном корпусных деталей.. |
Пластины для фрез (вид А)
|
Пластины для фрез (вид Б)
|
| Для сверления | Пластины для корпусных сверл для обработки отверстий. Диаметр рабочей части корпуса равен диаметру получаемого отверстия без учета отклонений. |
Пластины для сверл (вид А)
|
Пластины для сверл (вид Б)
|
| Для отрезных операций | Отрезка и обработка канавок. Радиальных и торцевых. |
Отрезные пластины (вид А)
|
Отрезные пластины (вид Б)
|
| Для нарезания резьбы | Токарная обработка внутренней и наружной резьбы. | Для левой наружной резьбы | |
|
Пластины для резьбы левая наружная (вид А)
|
Пластины для резьбы левая наружная (вид Б)
|
||
| Для правой наружной резьбы | |||
|
Пластины для резьбы правая наружная (вид А)
|
Пластины для резьбы правая наружная (вид Б)
|
||
Расшифровка токарных пластин
При расшифровке обозначения токарных пластин используется универсальная таблица. Она содержит 9 разделов, каждый из которых посвящен определенной характеристике: форме, заднему углу, классу точности, конструктивным особенностям, размерам, толщине, радиусу скругления, исполнению стружколома и сплаву.
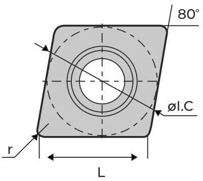
Разобраться в маркировке токарных пластин по металлу помогут примеры расшифровки. Так, пластина с обозначением CNMG120408 имеет следующие параметры:
- С – ромбовидное исполнение с углом при вершине в 80°.
- N – отрицательный задний угол в 0°.
- М – средний допуск: от ±0,08 мм по толщине и от ±0,05 мм по стороне.
- G – двухсторонняя пластина с отверстием и стружколомом.
- 12 – длина режущей кромки в 12,0 мм.
- 04 – толщина пластины в 4,76 мм.
- 08 – радиус скругления при вершине в 0,8 мм.
Маркировка пластин для токарных резцов обычно содержит сведения о стружколоме и материале изготовления. Они зашифрованы в двух оставшихся блоках.
Также стоит рассмотреть примеры расшифровки прочих токарных пластин.
TNMG 160408-MA H13A:
- T – треугольная форма с углом при вершине в 60°.
- N – отрицательный задний угол в 0°.
- M – средний допуск: от ±0,08 мм по толщине и от ±0,05 мм по стороне.
- G – профиль с трапециевидными торцами.
- 16 – длина режущей кромки в 16,0 мм.
- 04 – толщина пластины в 4,76 мм.
- 08 – радиус скругления при вершине в 0,8 мм.
- MA – стружколом для чистовой и получистовой обработки.
- H13A – марка твердого сплава, например, от Sandvik.
CNMG 120408-PM 4225:
- C – ромбовидное исполнение с углом при вершине в 80°;
- N – отрицательный задний угол в 0°.
- M – средний допуск
- G – профиль с трапециевидными торцами.
- 12 – длина режущей кромки в 12,0 мм.
- 04 – толщина пластины в 4,76 мм.
- 08 – радиус скругления при вершине в 0,8 мм.
- PM – универсальный стружколом.
- 4225 – марка сплава, например, от Sandvik.
Возможно применение дополнительных обозначений, указывающих направление подачи: R – правая, L – левая, N – нейтральная.
Расшифровка пластин для фрезерования
Расшифровка режущих пластин для фрез выполняется с учетом вышеуказанной таблицы. Она содержит все необходимые сведения для работы с оснасткой.
Пример расшифровки фрезерной пластины APMT 1135PDER-H2 LF6018 стоит разобрать по блокам:
Форма пластины – APMT:
- A – параллелограмм с углом при вершине в 85°.
- P – положительный задний угол в 11°.
- M – средний допуск: от ±0,08 мм по толщине и от ±0,05 мм по стороне.
- T – тип крепления: отверстие и паз для стружколома.
Размеры – 1135:
- 11 – длина режущей кромки – 11 мм.
- 3 – толщина пластины – 3,18 мм.
- 5 – радиус при вершине – 0,5 мм.
Геометрия стружколома – PDER:
- P – универсальный стружколом.
- D – двустороннее направление подачи.
- ER – уточнение геометрии в соответствии с классификацией производителя, например, усиленная кромка.
Марка твердого сплава – H2:
- H2 – стружколом для высокопроизводительной получистовой обработки.
Дополнительная маркировка, соответствующая серии пластины – LF6018:
- LF –Li Feng.
- 6018 – Для нержавеющей стали, жаропрочных и легированных сталей. Хорошая износостойкость/ Сплав с превосходной ударной вязкостью и антиадгезионной износостойкостью. Разработан для аустеничной нержавеющей стали. Подходит для обработки жаропрочных сплавов на низких скоростях резания и сталей с твердостью равной или ниже HRC40
Расшифровка маркировки фрезерных пластин в последнем блоке выполняется по предписаниям производителя.
Расшифровка пластин для сверления
При работе с твердосплавными пластинами для сверл также используется универсальная таблица. Она помогает расшифровать любую маркировку, например QCMT060204-CM LF6018S:
- Q – специальная форма, обычно квадрат с модифицированной геометрией для сверления.
- C – положительный задний угол: 7°.
- M – средний допуск: от ±0,08 мм по толщине и от ±0,05 мм по стороне.
- T – тип крепления: отверстие и паз для стружколома.
- 06 – длина режущей кромки – 6,0 мм.
- 02 – толщина пластины – 2,38 мм.
- 04 – радиус при вершине – 0,4 мм.
- C – универсальный стружколом для стали.
- M –многослойное износостойкое покрытие.
Дополнительная маркировка LF6018S имеет следующую расшифровку:
- LF – Li Feng.
- 6018 – Предназначен для обработки нержавеющей стали и легированной стали, обладающий превосходной вязкостью и устойчивостью к износу. Используется при обработке нержавеющей стали, особенно аустенитной нержавеющей стали. Сочетает износостойкость и высокую теплопроводность. Также подходит для резки термостойкой легированной стали на низкой скорости. Группа материалов: M20-M30 , S.
- S – специальная модификация, например, улучшенная стойкость.
Как и в предыдущем случае, работа с последним блоком требует информации от производителя.
Расшифровка пластин для отрезных операций
Посредством универсальной таблицы можно расшифровать и маркировку для отрезных пластин. Порядок работы с ней демонстрирует пример с оснасткой MGMN300 M LDA:
- M – прямоугольная форма пластины с двумя режущими кромками для отрезки и проточки.
- G – нейтральный задний угол 0°.
- M – средний допуск: от ±0,08 мм по толщине и от ±0,05 мм по стороне.
- N – крепление без отверстия, посредством прижима.
- 300 – ширина пластины – 3,0 мм.
- M – умеренный стружколом для универсальной обработки.
- LDA– Универсальный сплав. Обработка стали и нержавеющей стали.
Расшифровка пластин для нарезания резьбы
Расшифровка маркировки сменных резьбонарезных пластин требует применения особой таблицы. В ней указаны сведения о размере, типе, направлении, шаге и стандарте резьбы.
Расшифровка обозначения пластины 16ER AG 60 LDC имеет следующий вид:
- 16 – внешний размер пластины, соответствующий 3/8″.
- ER – наружная резьба (External Threading).
- AG – универсальный открытый профиль с диапазоном шагов 0.5-3.0 мм.
- 60 – угол профиля резьбы в градусах. LDC – Предпочтителен для обработки мягкой углеродистой и нержавеющей стали и цветных металлов
Производитель может использовать прочие обозначения, характеризующие параметры инструмента.
Популярные вопросы
Как выбрать пластину для нарезания резьбы?
Для работы с резьбой подходят пластины с маркировкой ER и IR. Первая соответствует наружной, вторая – внутренней резьбе. Так, 16ER 1.75 ISO LDA пластина резьбовая DESKAR предназначена для обработки метрической правой наружной полнопрофильной резьбы с шагом 1.75мм
Какие стандарты маркировки твердосплавных пластин существуют?
Выделяют три типа стандартов: ISO – международный, ANSI – американский и внутренний – от производителей. Решения с маркировкой ISO наиболее распространены. При этом они нередко используются с обозначениями от заводов.
Чем отличается пластина для чистовой и черновой обработки?
Оснастка для чистовой обработки имеет радиус скругления в 0,4 – 0,8 мм и стружколом острой формы, как правило, имеющий в обозначении латинскую букву “ F”. Для черновой обработки используются пластины с радиусом в 1,2 – 4 мм и устойчивый к ударам и износу стружколомом с буквами “R”или “H” в обозначении.






